Aufnahme-Speichersystem für Blitz-Speicherungsanlage

zurück

Zeichnungen



zurück

 

Beschreibung

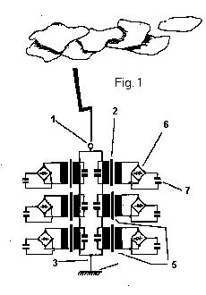
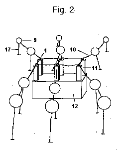
Aufnahme-Speichersystem für Blitz-Speicherungsanlage In der Hauptanmeldung Nr. P 40 34 100.3 wurde die Blitz-Speicherungsanlage beschrieben. In dieser Beschreibung wird der Blitzaufnahmeballon sowie die Weiterleitung, der Umwandlerturm und der Speicherungsbau beschrieben. Es ist bekannt, Blitz-Speicherungsanlage zur Umwandlung von Wolkenblitz-Entladungsenergie in speicherfähige Elektroenergie (Nr. P 40 34 100.3 ), aber bei dieser Darstellung sind keine geeigneten Aufnahme-, Weiterleitungs-, und Speichersysteme vorhanden, die eine vorstellbare Anordnung der Blitz-Speicherungsanlage darstellt. Die mit der Erfindung erzielten Vorteile bestehen insbesondere darin, dass mit dem Schwebeballon, Kabel-Schlauchleitung und dem Gebäude für die Blitzspeicherungsanlage ein geschlossenes Anlagensystem entsteht. Die Blitzenergieaufnahme erfolgt über die Schwebeballons Fig.3 die entsprechend der Fig. 2 weit in die Landschaft reinragen. Der Ballon (9) besteht aus einem nichtflexibel leichtem Material der z.B. mit Helium gefüllt ist und wird durch Distanzstücke (18) zum Gitter (13) angeordnet. Dieses ist erforderlich damit bei einem Blitzeinschlag auf dem Gitter (13) die Hülle nicht verletzt wird. Die Elektrodenspitzen (14) gewährleisten eine zusätzliche Sicherheit, da der Blitz vorwiegend in den Spitzen einschlägt. Am unteren Ende ist die Kabel-Schlauchhalterung (15) angeordnet. An den Ösen (19) wird die Kabel-Schlauchleitung (10) befestigt, die sowohl als Verbindungsleine zwischen den Ballonen, und als Strom- und Gasleitung dient. Der Gasschlauch wird auf einer Seite des Stutzens (16) aufgesteckt und auf der anderen Seite zum nächsten Ballon geleitet, wobei es sich um ein geschlossenes Schlauchsystem handelt. Mit dieser Anordnung wird ausweichendes Gas nachgefüllt. Die Halteleine besteht verständlicherweise aus Kunststoff und gewährleistet, dass der Ballon nicht abdriftet. Nach dem die Wolkenblitz-Entladung auf dem Gitter (13) des Schwebeballonübergegangen ist, fließt der Strom über die Kabel-Schlauchleitung (10) zur Aufnahmeelektrode (1). Die Aufnahmeelektroden (1) sind durch ein Kabel miteinander verbunden um eine größtmögliche Energieverteilung zu erreichen. Die Fig. 4 zeigt die Seitenansicht (11) und Fig. 5 die Draufsicht des Umwandlerturms (11) in der die Blitz-Speicherungsanlage angeordnet ist. Von der Aufnahmeelektrode (1) fließt der Strom durch die in Reihe (5) geschalteten Primärspulen der Transformatoren (2), über die Erdungselektrode (3) zur Erde (4) ab. Die Kondensatoren (8) dienen zur Verbesserung der Induktionseigenschaft, damit so viel Energie wie möglich auf die Sekundärspule übertragen wird. Nach dem die Impulsenergie von der Primärspule auf die Sekundärspule übertragen wurde, fließt der Strom über die Gleichrichterschaltung auf den Kondensator (7) der in der Lage ist die Impulsenergie zu speichern. Die Gleichrichterschaltung (6) auf der Sekundärseite gewährleistet, dass die vom Kondensator (7) aufgenommene Energie nicht wieder zur Spule zurückfließen kann, was zur Folge hätte, dass der Kondensator sich wieder über die Sekundärspuleentladen würde. Der geladene Kondensator (7) kann dann auf gewöhnlichen Akkus in der Speicherstation (12) gespeichert werden.