Gebrauchsmuster
 
Rotationsmessgerät
zurück

 


Beschreibung

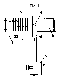
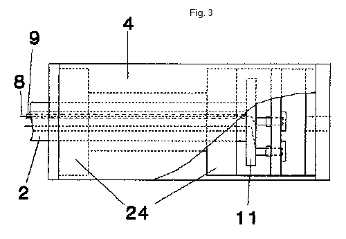
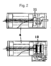
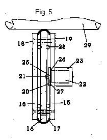
Rotationsmessgerät zur Thermischen Messung an Transportbändern Rollenöfen und befeuerte Trockentrommeln, so wie akustische Messung an Kugelmühlen, Trockentrommeln in direkter Berührung mit dem Messkopf am Messobjekt. Für die Thermische Messung von Trommeln und Rollenöfen werden in der Regel Strahlungspyrometer verwendet die durch starke Staubentwicklung zwischen Linse und Messobjekt zu Fehlermessung führt kann. Mit dieser Erfindung wird ein Berührungsmessgerät geschaffen das es ermöglicht, durch die Drehung des Messkopfes (1) die Temperatur direkt vom drehenden oder geradlinig bewegenden Objekt zu entnehmen. Die vom Messkopf (1 oder 31) aufgenommene Wärme wird vom Messelement (12 oder 13) in elektrische Signale umgewandelt und mittels Drähte (8) in der rotierenden Welle (2) durch Keramikröhrchen (9) zum Kontaktschleifring (10 oder 11) geleitet, wo die Signale von Kontaktbürsten abgetastet werden und zu einer Temperaturanzeige gelangen. Für ein störungsfreies Abtasten empfiehlt es sich, Kontaktbürsten aus einer Mischung von Kupfer und Graphit zu verwenden. Die Hülse (4) dient mittels Kugellager (24) als Halterung für die Welle (2) und schützt den Kontaktschleifring (10 oder 11) gegen äußere Einwirkungen. An den Kugellagern und Kontaktschleifring erfolgt der Übergang vom rotierenden zum statischen Zustand und die Besonderheit bei dieser Erfindung ist der elektrische Übergang durch den Kontaktschleifring. Die Hülse (4) steckt in einer Halterung die beidseitig durch ein Gelenk (7) an den Haltestab (5) gelagert ist. Im Gelenk ist eine Spiralfeder eingesetzt oder Gummieinvulkanisiert, das den Messkopf nach oben drückt. Dadurch wird das Messgerät nach Fig. 1 in der angegebenen zweiseitigen Pfeilrichtung beweglich, und der Messkopf wird elastisch gegen die Trommel oder das Transportband gedrückt. Für die akustische Messung an Kugelmühlen, Trockentrommeln werden in der Regel Richtrohrmikrophone verwendet, die durch fremdakustische Signale, aus gleicher Richtung, zur Fehlmessung führt, vor allem wenn es sich bei den zumessenden Objekten um eine geringe Signalintensität handelt. Mit dieser Erfindung wird ein Berührungsmessgerät geschaffen das ermöglicht durch die Drehung des Messkopfes (30) die mechanischen Schwingungen direkt vom drehenden oder geradlinig bewegenden Objekt zu entnehmen. Die vom Messkopf (30) aufgenommene mechanische Schwingung wird über den Staubabdichtungs- und Geräuschdämpfungsgummiring (17) auf die bewegliche Scheibe (16) übertragen. Durch die Flachkegelvertiefung (25) wird die Kugel (21) von der Schwingung der Scheibe (16) auf die Membran (27) übertragen. Weil die Kugel (21) durch die Scheibe (16) in horizontaler und vertikaler Richtung verschoben wird, ist der Ring (20) angeordnet und lässt die Kugel nur in horizontaler Richtung auf die Membran (27) wirken. Die Membran verändert ihren Abstand (26) zur Spule (22) wodurch einelektrisches Signal induziert wird, das über die Kontaktstelle (23) auf die Welle (2) übertragen wird. Danach ist der Signalübertragungsablauf identisch wie beider thermischen Signalübertragung. Die Kugeln (28) dienen als Distanzkugeln zwischen den Scheiben (16) und ermöglichen der Scheibe die Beweglichkeit. Der Federdruck der zwischen Messobjekt und akustischem Messkopf existiert hat keine negative Wirkung auf die Schwingungsübertragung, denn eine Schwingungsübertragung unter Gewichtsdruck kommt auch bei der Schallplattenabtastung vor.

 

zurück