|

|
|
Beschreibung
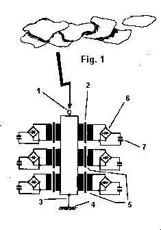
Die Wolken-Blitzstromableitung erfolgt bisher ungenutzt über
Blitzableiter. Ein dicker Draht am Haus, der von der Dachspitze zur Erde führt. Dagegen
bei dieser Anlage wird der Blitz über die Elektrode (1) an der Dachspitze
aufgenommen und über einen isolierten Draht zur Primärseite durch Parallel- und Reihenschaltung angeordnete Transformatoren (2) geleitet.
Die Leitung (3) dient zur Stromableitung in die Erde (4).Die Primärspule
hat kaum einen Ohmschen Widerstand und ist kein Hindernis für den Blitz bei
der Aufnahme und Ableitung zur Erde. Da der Blitz eine hohe Spannung
besitzt ist eine Reihenschaltung von mehreren Transformatorstufen (5)
zweckmäßig, denn es besteht die Gefahr der Stromdurchschläge im Spulenkörper.
Außerdem erfolgt eine Spannungsverteilung auf alle Transformatoren. Nach
der Stromaufnahme entsteht auf der Sekundärseite eine Impulsspannung.
Um die Energie der Impulsspannung festhalten zu können, wird sie über eine Gleichrichterschaltung (6) geleitet; an ihr ist ein Kondensator (7)
angeschlossen.
Ein Kondensator hat die notwendige Eigenschaft, eine kurzzeitige
Impulsspannung aufzunehmen und zu speichern, wodurch es überhaupt erst möglich ist so eine Anlage zu errichten. Diese Anlage ist geeignet für
wissenschaftliche Untersuchungen der Blitzenergie. Wissenschaftliche
Ergebnisse über die Entladungshäufigkeit und dessen Stromdichte ist in
der Elektrotechnischen Zeitschrift Heft 1, 1984; 9, 1982; 2, 1982 und
Physik in unserer Zeit Heft 1, 1982 veröffentlicht.
|